Контакты
+7 (771) 005 22 22

| Обозначение варианта исполнения | Конструктивное исполнение |
| РЛК.2-10 IV /400 УХЛ1 | С двумя заземлителями |
| РЛК.1а-10 IV /400 УХД1 | С одним заземлителем со стороны неподвижного контакта |
| РЛК.16-10 IV/400 УХЛ1 | С одним заземлителем со стороны подвижного контакта |
| Наименование параметра | Значение |
| Номинальное напряжение, кВ | 10 |
| Наибольшее рабочее напряжение, кВ | 12 |
| Номинальный ток, А | 400 |
| Предельный сквозной ток, кА | 25 |
| Ток термической стойкости, кА | 10 |
| Время протекания тока термической стойкости, с: - для главных цепей - для заземлителей |
3 1 |
| Номинальная частота, Гц | 50 |
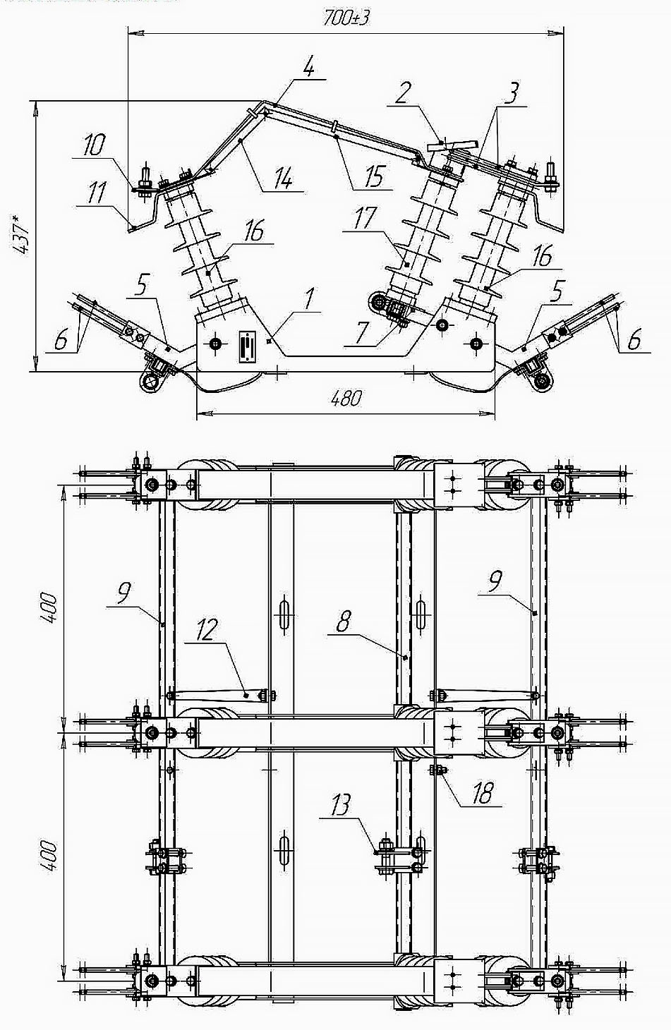
| Габаритные размеры разъединителя, мм, не более*: - длина - ширина - высота |
897 890 465 |
| Масса, кг | 35 |